Oggi è sabato 27 dicembre 2025, 10:40

Tutti gli orari sono UTC + 1 ora [ ora legale ]




Apri un nuovo argomento Rispondi all’argomento  [ 11 messaggi ] 
Autore Messaggio
 Oggetto del messaggio: agganciare i vagoni
MessaggioInviato: giovedì 15 novembre 2018, 12:11 
Non connesso

Iscritto il: martedì 28 novembre 2017, 11:04
Messaggi: 96
Località: vicenza
buongiorno a tutti ,
una domanda e un consiglio ...
nei piccoli diorama che sto ultimando vorrei logicamente inserire delle locomotive e carri vari.
ho tolto i ganci/timoni perché come riproduzioni dal vero esteticamente non ci stanno proprio.
con cosa sostituirli per avere una buona riproduzione ?
tenete presente che i mezzi non dovranno circolare ma saranno statici .
grazie


Top
 Profilo  
 
 Oggetto del messaggio: Re: agganciare i vagoni
MessaggioInviato: giovedì 15 novembre 2018, 12:52 
Non connesso

Iscritto il: sabato 27 ottobre 2007, 9:02
Messaggi: 2853
Località: Torino
Ciao, fatti un giro sul sito di Weinert, dovresti trovare tutta la "ferramenta" necessaria.

Ciao
Despx


Top
 Profilo  
 
 Oggetto del messaggio: Re: agganciare i vagoni
MessaggioInviato: venerdì 30 novembre 2018, 10:54 
Non connesso

Iscritto il: venerdì 13 gennaio 2006, 20:49
Messaggi: 1022
ciao. se lasci i timoni puoi mettere i ganci Brawa, che riproduce un gancio reale, con innesti a norma NEM.
saluti.
Frenk


Allegati:
brawa-2250-ganci-a-barra-rigida-10pz.jpg
brawa-2250-ganci-a-barra-rigida-10pz.jpg [ 56.99 KiB | Osservato 6505 volte ]
Top
 Profilo  
 
 Oggetto del messaggio: Re: agganciare i vagoni
MessaggioInviato: martedì 4 dicembre 2018, 10:59 
Non connesso

Iscritto il: martedì 28 novembre 2017, 11:04
Messaggi: 96
Località: vicenza
grazie ...molto interessanti davvero !


Top
 Profilo  
 
 Oggetto del messaggio: Re: agganciare i vagoni
MessaggioInviato: sabato 8 dicembre 2018, 14:53 
Non connesso
Avatar utente

Iscritto il: giovedì 17 febbraio 2011, 16:03
Messaggi: 2205
Località: Agram
solo che non puoi fare manovre di composizione/scomposizione convogli.


Top
 Profilo  
 
 Oggetto del messaggio: Re: agganciare i vagoni
MessaggioInviato: domenica 9 dicembre 2018, 9:37 
Non connesso

Iscritto il: martedì 31 gennaio 2006, 17:39
Messaggi: 642
marcodiesel ha scritto:
solo che non puoi fare manovre di composizione/scomposizione convogli.


Beh ma ha detto che era per uso statico...

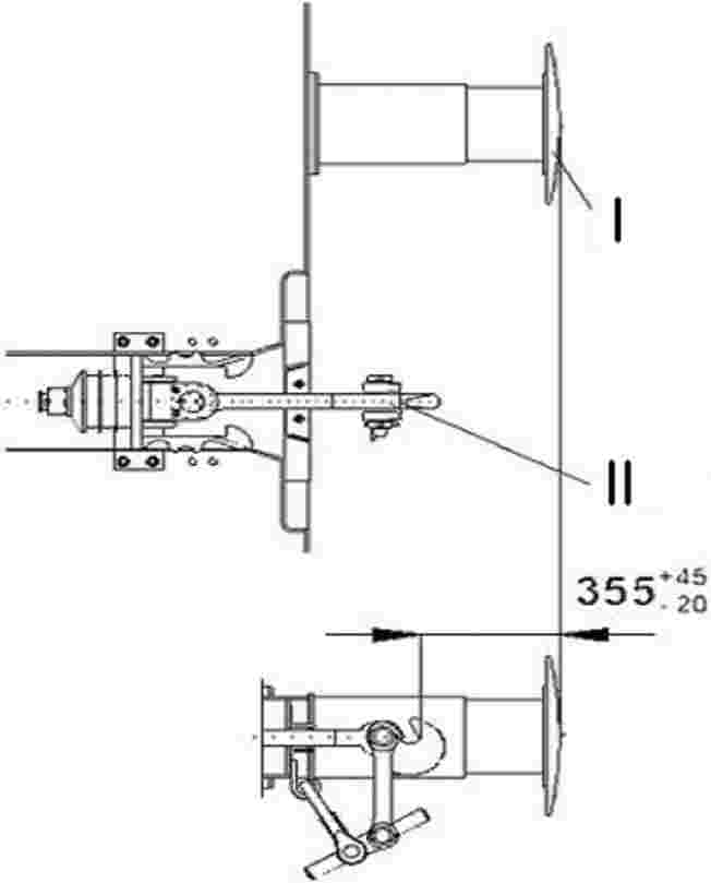
Comunque non ritengo che questi dispositivi Brawa siano realistici, riproducendo i ganci in una posizione assolutamente non conforme al vero. Nella realtà infatti gli organi di trazione (ganci) e repulsione (respingenti) sono sullo stesso piano, cioè allo stesso livello, per assicurare una corretta trasmissione delle forze - attraverso il telaio del veicolo - da una testata all'altra.

Un saluto

Edelweiss


Allegati:
image.jpeg
image.jpeg [ 15.7 KiB | Osservato 5820 volte ]
image.jpeg
image.jpeg [ 103.55 KiB | Osservato 5820 volte ]
image.jpeg
image.jpeg [ 27.02 KiB | Osservato 5821 volte ]
Top
 Profilo  
 
 Oggetto del messaggio: Re: agganciare i vagoni
MessaggioInviato: domenica 9 dicembre 2018, 10:08 
Non connesso

Iscritto il: martedì 26 ottobre 2010, 7:34
Messaggi: 1792
Località: la città delle tre T...
Considerazione ineccepibile. Ma d'altronde si sa che il nostro mondo modellistico è pieno di licenze... costruttive. Se si vuole un agganciamento tra rotabili realistico al 100% perchè non fare come nella realtà e usare i ganbci a maglia, tipo l'ultimo prodotto da Hornby? Forse non è lungo abbastanza? Qualcuno può provare?


Top
 Profilo  
 
 Oggetto del messaggio: Re: agganciare i vagoni
MessaggioInviato: domenica 9 dicembre 2018, 15:15 
Non connesso

Iscritto il: sabato 27 ottobre 2007, 9:02
Messaggi: 2853
Località: Torino
despx ha scritto:
Ciao, fatti un giro sul sito di Weinert, dovresti trovare tutta la "ferramenta" necessaria.

Ciao
Despx


Top
 Profilo  
 
 Oggetto del messaggio: Re: agganciare i vagoni
MessaggioInviato: domenica 9 dicembre 2018, 16:07 
Non connesso

Iscritto il: domenica 3 gennaio 2010, 20:36
Messaggi: 9205
Località: la citta' della 3 t: torri, tortellini e ...
Sul mercato vi sono diverse barre per aggancio fisso similari alle Brawa di cui sopra.
Lo scopo e' quello di costituire un' alternativa ai ganci funzionanti per i convogli a composizione fissa.
Personalmente le trovo poco utili, se non, forse per le coppie di automotrici / elettromotrici.
Perché anche se non si prevede di operare un convoglio sul plastico con manovre, occorre pur sempre comporlo e scomporlo per metterlo sul plastico e per toglierlo.
Saluti
Stefano.


Top
 Profilo  
 
 Oggetto del messaggio: Re: agganciare i vagoni
MessaggioInviato: domenica 9 dicembre 2018, 18:11 
Non connesso

Iscritto il: sabato 27 ottobre 2007, 9:02
Messaggi: 2853
Località: Torino
E aggiungo che sono fragili....

Despx


Top
 Profilo  
 
 Oggetto del messaggio: Re: agganciare i vagoni
MessaggioInviato: domenica 9 dicembre 2018, 21:29 
Non connesso

Iscritto il: lunedì 16 gennaio 2006, 11:10
Messaggi: 748
Località: Montescudaio (PI)
Mi aggiungo al coro: se devono rimanere statici, tanto vale utilizzare i ganci realistici funzionanti...


Top
 Profilo  
 
Visualizza ultimi messaggi:  Ordina per  
Apri un nuovo argomento Rispondi all’argomento  [ 11 messaggi ] 

Tutti gli orari sono UTC + 1 ora [ ora legale ]


Chi c’è in linea

Visitano il forum: Baidu [Spider] e 5 ospiti


Non puoi aprire nuovi argomenti
Non puoi rispondere negli argomenti
Non puoi modificare i tuoi messaggi
Non puoi cancellare i tuoi messaggi
Non puoi inviare allegati

Cerca per:
Vai a:  
banner_piko

Duegi Editrice - Via Stazione 10, 35031 Abano Terme (PD). Italy - Tel. 049.711.363 - Fax 049.862.60.77 - duegi@duegieditrice.it - shop@duegieditrice.it
Direttore editoriale: Luigi Cantamessa - Amministratore unico: Federico Mogioni - Direttore responsabile: Pietro Fattori.
Registro Operatori della Comunicazione n° 37957. Partita iva IT 05448560283 Tutti i diritti riservati Duegi Editrice Srl