Oggi è sabato 21 febbraio 2026, 23:00

Tutti gli orari sono UTC + 1 ora [ ora legale ]




Apri un nuovo argomento Rispondi all’argomento  [ 11020 messaggi ]  Vai alla pagina Precedente  1 ... 273, 274, 275, 276, 277, 278, 279 ... 735  Prossimo
Autore Messaggio
 Oggetto del messaggio: Re: ACME: Info, news e ultime uscite
MessaggioInviato: mercoledì 7 febbraio 2018, 18:48 
Non connesso

Iscritto il: mercoledì 6 novembre 2013, 21:57
Messaggi: 777
Come suggerito ho incrociato gli assi fra la Z1 in questione ed una carrozza gemella: la tremarella è cessata e non è comparsa sull'altra carrozza.... mistero .... a questo punto suppongo vi sia stato un errore di montaggio... cinese..., ma non ho capito quale.
Grazie a tutti e scusate per il disturbo...


Top
 Profilo  
 
 Oggetto del messaggio: Re: ACME: Info, news e ultime uscite
MessaggioInviato: venerdì 9 febbraio 2018, 15:18 
Non connesso

Iscritto il: domenica 10 luglio 2011, 19:47
Messaggi: 416
Località: Milano
Buongiorno a tutti, perdonatemi ma sono di fretta e magari è già stato detto nelle pagg. precedenti; approssimativamente quando potrebbe essere consegnato il set GC Tee presentato a Norimberga ? Grazie

Luca


Top
 Profilo  
 
 Oggetto del messaggio: Re: ACME: Info, news e ultime uscite
MessaggioInviato: venerdì 9 febbraio 2018, 15:38 
Non connesso

Iscritto il: lunedì 10 dicembre 2007, 17:58
Messaggi: 939
Località: Monza
LucAln668 ha scritto:
Buongiorno a tutti, perdonatemi ma sono di fretta e magari è già stato detto nelle pagg. precedenti; approssimativamente quando potrebbe essere consegnato il set GC Tee presentato a Norimberga ? Grazie

Luca

E sopratutto,per curiosità, money?? 8)


Top
 Profilo  
 
 Oggetto del messaggio: Re: ACME: Info, news e ultime uscite
MessaggioInviato: venerdì 9 febbraio 2018, 15:47 
Non connesso

Iscritto il: giovedì 12 gennaio 2006, 15:53
Messaggi: 1041
Località: Citano' (MC)
Su di un noto negozio Bolognese dicono Aprile ,il prezzo penso quello che costano le carrozze attualmente X5pezzi 8)


Top
 Profilo  
 
 Oggetto del messaggio: Re: ACME: Info, news e ultime uscite
MessaggioInviato: venerdì 9 febbraio 2018, 16:22 
Non connesso

Iscritto il: martedì 23 giugno 2009, 12:56
Messaggi: 2826
Località: Trieste
Piuttosto forse sarebbe il caso di chiederci se saranno dello stesso tenore delle ultime uscite, colorazioni così così, cornici pitturate male, ditate a gogo......ma quando impareremo?


Top
 Profilo  
 
 Oggetto del messaggio: Re: ACME: Info, news e ultime uscite
MessaggioInviato: venerdì 9 febbraio 2018, 16:41 
Non connesso

Iscritto il: martedì 31 gennaio 2006, 14:45
Messaggi: 584
Località: Trieste
Loriano Lorenzutti ha scritto:
Piuttosto forse sarebbe il caso di chiederci se saranno dello stesso tenore delle ultime uscite, colorazioni così così, cornici pitturate male, ditate a gogo......ma quando impareremo?

Cosa vuoi noi italiani non interessa l'etica, ma la pragmatica:
Celo, celo, manca! LO VOGLIO!!

Non mi ricordo dovevo visto il confronto con una precedente carrozza già con i finestrini nuovi, tanto favolosa quella, quanto sottotono quella nuova.

Comunque è stato scritto quale stima il prezzo dei bagagliai per 5.
Listino 71x5=355
Negozio 64,5x5=322,5

Buono acquisti


Top
 Profilo  
 
 Oggetto del messaggio: Re: ACME: Info, news e ultime uscite
MessaggioInviato: venerdì 9 febbraio 2018, 19:17 
Non connesso

Iscritto il: domenica 10 luglio 2011, 19:47
Messaggi: 416
Località: Milano
Loriano Lorenzutti ha scritto:
Piuttosto forse sarebbe il caso di chiederci se saranno dello stesso tenore delle ultime uscite, colorazioni così così, cornici pitturate male, ditate a gogo......ma quando impareremo?


si spera non escano dalla fabbrica in tali condizioni, ma se così sarà, spero non ci siano sprovveduti da acquistare il suddetto set ;)

saluti
Luca


Top
 Profilo  
 
 Oggetto del messaggio: Re: ACME: Info, news e ultime uscite
MessaggioInviato: venerdì 9 febbraio 2018, 21:47 
Non connesso

Iscritto il: lunedì 8 ottobre 2012, 20:31
Messaggi: 596
Si, si spera che non si presentino così...
Questo è il set 70079 che ho preso questa settimana. Oltre a segnetti e ditate i respingenti molleggiati sono...incollati, sia sulla II che sul DUz.
Speriamo che in un modello destinato anche al mercato internazionale come il TEE i controlli di qualità siano più accurati...
Resta assolutamente che il prezzo è esagerato rispetto alla qualità di assemblaggio.
In confronto il set 70077 a cui mancava un predellino della 444 era perfetto!
La scatola è di dimensioni pratiche ma il coperchio è scomodo da aprire.
Le protezioni plastiche all' interno sono le stesse delle ALe 801/940 uscite due anni fa.


Allegati:
Commento file: e segni sulla fiancata
20180209_212540.JPG
20180209_212540.JPG [ 159.42 KiB | Osservato 4388 volte ]
20180209_212440.JPG
20180209_212440.JPG [ 118.59 KiB | Osservato 4388 volte ]
Commento file: testata 1...
20180209_212421.JPG
20180209_212421.JPG [ 118.54 KiB | Osservato 4388 volte ]
Top
 Profilo  
 
 Oggetto del messaggio: Re: ACME: Info, news e ultime uscite
MessaggioInviato: venerdì 9 febbraio 2018, 21:57 
Non connesso

Iscritto il: mercoledì 17 febbraio 2010, 22:01
Messaggi: 390
Ludovico Icardi ha scritto:
Si, si spera che non si presentino così...

Si è già parlato del problema nei precedenti post, quindi ora di cosa ti lamenti? Se acme osa fare ciò è anche colpa di chi decide di acquistare comunque.
Sono convinto che acme le ha pagate talmente poco da non potersi poi lamentare sulla qualità del prodotto, consapevole anche del fatto che tanto c'è sempre qualche fesso che le compera.


Top
 Profilo  
 
 Oggetto del messaggio: Re: ACME: Info, news e ultime uscite
MessaggioInviato: venerdì 9 febbraio 2018, 22:59 
Non connesso

Iscritto il: lunedì 8 ottobre 2012, 20:31
Messaggi: 596
Ti ringrazio per avermi dato del fesso, caro Centoporte! :mrgreen: Non tutti sono furbi come gli assidui alimentatori di polemiche che ci sono sulla rete :D
Non mi lamento, ma porto a conoscenza dello stato in cui il modello esce dalla sua scatola, ognuno può trarre le proprie conclusioni senza post al vetriolo e tenendole per se visto che (dovremmo essere) tutti adulti e vaccinati.
Mi spiace perchè il modello è molto bello e questi difetti evitabili lo sminuiscono.
In tutta sincerità posso dirti che dormo lo stesso anche se il modello ha questi difetti...


Top
 Profilo  
 
 Oggetto del messaggio: Re: ACME: Info, news e ultime uscite
MessaggioInviato: venerdì 9 febbraio 2018, 23:31 
Non connesso

Iscritto il: lunedì 6 febbraio 2006, 9:00
Messaggi: 192
Buonasera a tutti i modellisti,
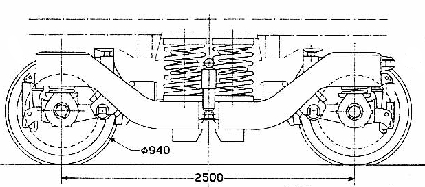
la notizia che ACME a breve produrrà le carrozze TEE FS ha reso felici tantissimi appassionati di modelli Italiani ma qualche collega, ottimo conoscitore dei rotabili, ha lanciato alcuni “segnali di allarme” circa la misura dei carrelli F71 che equipaggiano detti rotabili.
In pratica le carrozze ex GC (di prima e seconda serie) già prodotte da ACME in questi ultimi anni sarebbero equipaggiate con carrelli di “passo” non perfettamente in scala. Ricordo che al reale il passo del carrello misura 2500 mm, come si può notare dalle misure riportate sul disegno allegato. Poiché non ero a conoscenza di questa discrepanza, avendo delle carrozze Self Service ed ex GC sia di ACME che di Lima Expert, ho voluto fare alcune comparazioni. Ecco le foto degli accostamenti tra rotabili simili già prodotti e muniti di carrelli Fiat F71. Foto nr.2 Carrozza Self Service ACME/Heris, foto nr.3 e 4 confronto tra Self Service e carrozza GC di Lima Expert, fot nr.5 e 6 confronto tra Self Service ACME/Heris e GC ACME.
Saluti
Mario


Allegati:
00.jpg
00.jpg [ 102.78 KiB | Osservato 4290 volte ]
02.jpg
02.jpg [ 209.93 KiB | Osservato 4290 volte ]
03.jpg
03.jpg [ 229.85 KiB | Osservato 4290 volte ]
04.jpg
04.jpg [ 231.76 KiB | Osservato 4290 volte ]
05.jpg
05.jpg [ 245.49 KiB | Osservato 4290 volte ]
06.jpg
06.jpg [ 240.63 KiB | Osservato 4290 volte ]
Top
 Profilo  
 
 Oggetto del messaggio: Re: ACME: Info, news e ultime uscite
MessaggioInviato: sabato 10 febbraio 2018, 12:56 
Non connesso

Iscritto il: mercoledì 18 gennaio 2006, 22:17
Messaggi: 1522
Località: ORVIETO Umbria
E' noto che che i carrelli Fiat utilizzati sulle self service sono ancora più fuori scala di quelli delle altre vetture e sono state riproposte così in tutti i set,dal "palatino" al "Thellò"(ci voleva poco a cambiare un carrello).Sicuramente rimarrà così qualora decidessero di proporre quella modificata con posti a sedere,tranquilli.

RF


Top
 Profilo  
 
 Oggetto del messaggio: Re: ACME: Info, news e ultime uscite
MessaggioInviato: sabato 10 febbraio 2018, 15:13 
Non connesso

Nome: Armando Pappalardo
Iscritto il: martedì 7 luglio 2009, 0:52
Messaggi: 4081
Località: San Germano Vi/Cropani Marina Cz
Sul discorso carrelli, già qualche pagina fa,avevo chiesto a qualche anima pia che mi spiegasse quale fosse il giusto riferimento...va bene il carrello della gc roco per confronto?
Perché quello acme proposto fino ad ora è più corto giusto?
Infine pensavo al discorso tendine sulle nuove gc tee..se badate non si tratta di un particolare così irrilevante...anzi direi che è molto caratterizzante. Roco...con un minimo di manualità si procedeva, dopo aver sfilato il tetto, all' inserimento...Acme come l'avrà studiata?o proprio non le mette?

Armando


Top
 Profilo  
 
 Oggetto del messaggio: Re: ACME: Info, news e ultime uscite
MessaggioInviato: sabato 10 febbraio 2018, 17:48 
Non connesso

Iscritto il: domenica 15 gennaio 2006, 15:01
Messaggi: 1166
...


Ultima modifica di Graziano il sabato 13 maggio 2023, 22:02, modificato 1 volta in totale.

Top
 Profilo  
 
 Oggetto del messaggio: Re: ACME: Info, news e ultime uscite
MessaggioInviato: sabato 10 febbraio 2018, 18:11 
Non connesso

Iscritto il: sabato 14 gennaio 2006, 13:02
Messaggi: 2797
Località: ROMA
mo si spiega perché hanno messo le carrozze TEE ROCO nel catalogo......li il carrello è corretto :D


Top
 Profilo  
 
Visualizza ultimi messaggi:  Ordina per  
Apri un nuovo argomento Rispondi all’argomento  [ 11020 messaggi ]  Vai alla pagina Precedente  1 ... 273, 274, 275, 276, 277, 278, 279 ... 735  Prossimo

Tutti gli orari sono UTC + 1 ora [ ora legale ]


Chi c’è in linea

Visitano il forum: Archimede, emiliano645 e 18 ospiti


Non puoi aprire nuovi argomenti
Non puoi rispondere negli argomenti
Non puoi modificare i tuoi messaggi
Non puoi cancellare i tuoi messaggi
Non puoi inviare allegati

Cerca per:
Vai a:  
banner_piko

Duegi Editrice - Via Stazione 10, 35031 Abano Terme (PD). Italy - Tel. 049.711.363 - Fax 049.862.60.77 - duegi@duegieditrice.it - shop@duegieditrice.it
Direttore editoriale: Luigi Cantamessa - Amministratore unico: Federico Mogioni - Direttore responsabile: Pietro Fattori.
Registro Operatori della Comunicazione n° 37957. Partita iva IT 05448560283 Tutti i diritti riservati Duegi Editrice Srl